Наименование товара:
Стоимость: руб.
Санкт-ПетербургТранспортный переулок, д.1А, офис 408
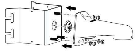
Краткое описание: Адаптер углового крепеления для камер серии Optera™ IMM, антиванд., исп. совместно с кронштейном WMVE-SR; цвет: серый
розничная
Этот сайт использует cookies для оптимизации. Если Вы не хотите использовать cookies, Вы можете заблокировать их в настройках браузера. Однако, есть риск, что не все функции сайта будут доступны. Далее